2015年东莞中考录取线 中考成绩720分稳上莞中
2015年东莞中考录取线,今年中考全市720分以上803人,因为今年观众面向全市招生854人,意味着,如果你的中考成绩720分以上,进入莞中是稳操胜券了。如果你的中考成绩720分报考东莞一中、、高级中学、实验中学、松山湖中学、光明公办班也是毫无压力的。
预计莞中录取线715分左右
因为东华公办班、光明公办班等民校公办班分分流尖子,以及有的学生志愿报考的原因,东莞中学的录取分数线不会从刚好招生的人数处切断,而是会降分,比如2013年,莞中招864人,定的分数线是730分,当年730分以上的有1400多人,所以可以判断,莞中的录取分数线会低于720分,估计在715分左右。可能会比去年低15分左右。(仅作参考,以最终官方发布为准)
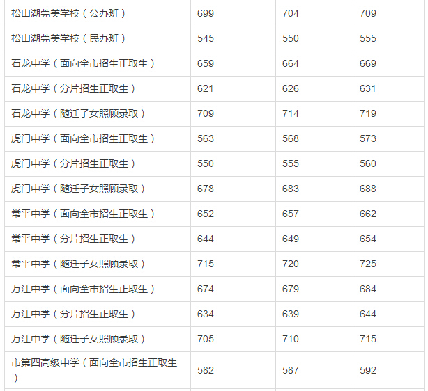
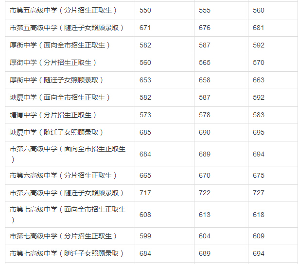
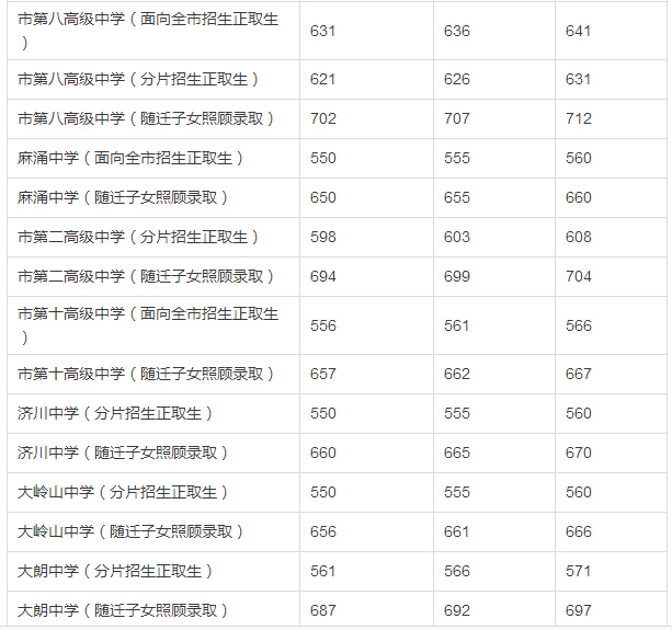
附东莞2014年各校的录取分数线






- 院校动态
- 招生计划
- 学校答疑
- 中考资讯
- 分数线
每年春季,福建中职校园里总会掀起一场“沉默的焦虑”。2026年的春天,这种情绪似乎比往年更浓烈一些。
2026年福建省高职院校分类考试招生工作实施方案已明确:中职学校类考生录取分为本科批次和高职(专科)批次,其中本科批次常规志愿设20个平行志愿。表面上看,志愿选择空间不小,但本科录取率的残酷现实却让许多家庭倍感压力。
对福建中职生来说,2026 年不只是一年,更是决定未来的分水岭。升学竞争加剧、考试规则即将重构,本科不再只有一条路。国内公考考研认可、国际升学畅通的多元路径,正在打开全新可能。
对于许多福建中职生而言,升学路径似乎早已被贴上“既定”的标签。然而,在全球教育融合的浪潮下,一条全新的赛道正悄然铺展。数据显示,超过60%的职校生在规划未来时,将海外升学纳入考虑范围,但语言基础薄弱、学术体系不连贯以及对复杂申请流程的陌生感,构成了横亘在梦想与现实之间的三重门。当外语培训不再仅仅是背单词、刷考题,而是演变为集沉浸式学习、严格督导与明确升学通道于一体的一站式解决方案时,中职学生的留学梦便有了清晰的航向。
对于福建的高中复读生而言,高职分类考试后的升学选择往往充满困惑:公办院校竞争激烈,民办院校又难言理想。是否有一条路径,既能规避“千军万马过独木桥”的尴尬,又能收获含金量更高的学历?近年来,越来越多的复读生家庭将目光投向“雅思培训”与国际升学通道,试图通过短期集中学习,打开国内外优质教育资源的另一扇门。
对于许多福建地区的高考复读生而言,选择复读是迈向理想大学的重要一步。然而,随着升学路径的多元化,不少学生与家长开始将目光投向海外名校。此时,一个核心挑战浮现:如何在有限时间内,系统提升外语培训水平,达到国际院校的语言要求?这不仅关乎语言考试分数,更关系到后续申请的成功率与适应性。本文将深入分析该群体需求,并对比评测相关培养项目,为学子们的升学规划提供参考。
每年高考放榜后,部分学子因种种原因与理想大学失之交臂。然而,升学的道路并未关闭。对于有志于深造的学子而言,通过系统化、目标明确的语言培训,直接对接海外高校录取要求,已成为一条切实可行的选择。如何高效利用高考后的关键阶段,扎实提升英语能力,并顺利衔接国内外高等教育资源,是许多高考落榜生与家庭关注的焦点。
随着国际教育路径的多元化,越来越多中职学生将眼光投向海外升学。全日制外语培训成为他们突破语言关、实现学历跃升的关键桥梁。本文围绕外语培训项目的选择,结合行业背景与客观分析,为福建地区中职生提供有价值的择校参考。
对于许多福建地区的高职分类落榜生而言,升学的道路并未终止。相反,选择一条适合自己发展的路径尤为关键。随着国际化教育趋势日益明显,语言培训成为许多学子实现升学跨越的重要跳板。本文将针对这一群体,深入探讨如何通过系统的语言学习与定向培养,实现国内外名校的升学目标。
对于志向远大的福建体育特长生而言,赴海外顶尖体育学府深造是提升竞技水平与学术背景的黄金路径。然而,雅思等语言考试往往成为首要障碍。数据显示,超过65%的体育生在备考时面临“基础薄弱、训练紧张、缺乏系统规划”的难题。专业的语言培训在此刻尤为关键,它不仅关乎分数,更影响着未来能否无缝融入海外的学习、训练与文化环境。
建州外国语高级中学2025年招生计划
建瓯市芝华中学2025年招生计划
建瓯市第七中学2025年招生计划
建瓯市第三中学2025年招生计划
建瓯市第二中学2025年招生计划
建瓯市第一中学2025年招生计划
崇安外语高级中学2025年招生计划
武夷山市第二中学2025年招生计划
武夷山第一中学2025年招生计划
邵武市第七中学2025年招生计划
1. 长乐职业中专学校是公立的学校吗?学校的办学效益如何? 长乐职业中专学校是长乐区政府精心打造的全日制公办职业中专学校,是国家中等职业教育改革发展示范学校、国家级重点中等职业学校、福建省示范性现代职业学校、福建省“双高校”立项建设学校。近年来,学校全面贯彻党的教育方针,落实立德树人根本任务,坚持“质量立校、人才强校”的发展战略,学校基础能力、育人质量、服务能力、示范作用、社会效应显著提升,实现了办学、治校、育人的跨越式发展,在福建乃至全国产生了较大影响。
长乐四中2025年高一招生问答
新学期,新的校园环境 在一片新的气象中 我校的招生计划即将开始 为了让您更好地了解我们的招生情况 我们将会为您详细介绍本次的招生情况 我们期待你的加入
明溪县职业中学2025年学校答疑
1.问:闽侯二中2025年高一招生计划如何? 答:招收16个教学班。其中:1-15班每班54人,共招810人(含体育特长生12人);其中:正取生243人,定向生567人;另外招收1个美术特色班,人数30人,独立成班。
龙岩华侨职业中专学校2025年招生答疑
福建省新华技术学校2025年招生问答
龙岩市农业学校2025年招生问答
东山岛职业中专学校2025年招生问答
安溪茶业职业技术学校2025年招生答疑
01报名时间 ✔全市统一报名时间为2026年3月5日至3月10日; ✔因特殊原因错过报名的,可于3月22日至3月23日补报名。
连江市教育局公布了连江一检五分段排位表,本次一检连江最高分:660以上一检成绩对应第一投档线为:556.5 分
2026年厦门初三一检成绩排名预估!
快讯!福州初三“一检”排位表公布!
根据《福建省教育厅关于调整福建省高职院校分类考试招生(面向中职学校毕业生)实施办法的通知》(闽教规〔2024〕4号),我省2027年高职分类考试招生的中职学校类考生,不再组织全省统一职业技能测试,将根据考生中职阶段获取的各类技能证书(证明)情况,分等级进行成绩认定,为学生职业技能赋分。为有序开展高职院校分类考试招生(面向中职学校类考生)职业技能赋分工作,确保过程严谨、公正、公开,现将有关要求通知如下。
刚刚!福州初三“一检”语文考试结束作文题新鲜出炉
近期,全国各地陆续公布了新的中考中招方案。这次改革不是“增加难度”,而是从“考知识”转向“考能力”,各地虽有细节差异,但核心方向一致,这会对福建产生什么影响:
2026年福建高考加分条件出炉: 那么福建中考各地市加分条件又是如何?福建中考加分相关政策一般在5月份随着各地市中招政策一起公布来看各地市具体情况:
2025年9地市最难考高中前50名
今天为大家整理福建9地市中考加分条件另外需要注意的是:2026年各地市将取消部分中考加分政策一起来看看吧
2026年福建中考进入倒计时,考生及家长普遍关注:全省各设区市中考分数线是否存在显著差异?不同区域考生升学难度如何?本文基于2024-2025年官方数据及教育政策,梳理福建九地市普高录取控制线差异,为备考家庭提供科学参考。
福建省中考录取政策因地域教育资源、人口基数等因素呈现差异化特征。以莆田、福州两地为例,2025年中考录取分数线差异显著,折射出教育资源配置与招生政策的深层逻辑。本文基于两地最新数据,为2026届考生及家长提供科学参考。
随着福建省职业教育体系的不断完善,五年制高职已成为衔接中等教育与高等教育的关键路径。本文基于近三年政策数据,为2026届考生及家长梳理录取规则与趋势,助力科学规划升学路径。
随着福建省职业教育改革持续深化,中本贯通“3+4”模式凭借其“中职+本科”无缝衔接的优势,成为众多学生及家长关注的升学路径。2026年录取分数线虽尚未公布,但结合2024-2025年政策趋势与录取数据,可梳理出关键预测方向与备考策略。
2024年泉州市普通高中最低录取控制线为 482分。这一分数线是全市中考考生数前一定比例(通常为70%左右)的最低成绩划定的,作为考生报考普通高中的最低门槛。
厦门市的综合高中班是在中职学校开设的普高课程班级,其录取分数线通常低于普通高中,但高于部分民办普高。根据2024年的录取情况,厦门三所公办中职学校的综合高中班最低投档分如下:
2024年厦门市中考定向生最低录取分数需根据招生学校普通生最低投档线确定,最多可降至该线下25分,但实际降幅因校而异。具体分数线如下:
2024年厦门市中考普高切线及普通高中最低投档线情况如下:
福州五年制高职学校的最低录取分数线通常根据福州市普高(含综合高中班)最低投档控制线下调一定分数划定。例如,2024年福州五年制高职学校的最低录取分数线为441.5分,这一分数线是根据福州市普高(含综合高中班)最低投档控制线501.5分下调60分划定的。
福州市3+4中本贯通有哪些学校?录取分数线多少?
闽公网安备35010202002010号